研磨設備
以客戶需求為導向,提供全方位的系統解決方案
以客戶需求為導向,提供全方位的系統解決方案
研磨設備
XZM型旋振磨機是新開發的超微粉粉碎機械,粉碎范圍廣,適用于化工、染料、橡膠制品、膠木、陶瓷、農藥、醫藥、建材、化妝品等行業。適用間斷、連續、干濕式各種形式粉磨作業。
該機粉磨效率高,粉磨介質碰撞次數是普通球磨機的50倍,粉磨速度高于普通球磨機的10~30倍,密封性能好,無粉塵溢散,能耗低,安裝簡單,維修方便,采用橡膠襯板和非金屬介質,基本實現無鐵磨損。可對易燃易爆物料進行間斷粉磨,并可充氮氣保護。
XZM系列旋振磨機主要特點:
1.與其它磨機相比同等動力條件下產量提高10-20%。
2.莫氏硬度小于9.3級的礦產物料均可加工粉碎。
3.成品粒度范圍廣。
4.除塵效果完全達到粉塵排放標準。
5.分析機調整方便。
6.研磨裝置采用重疊式。
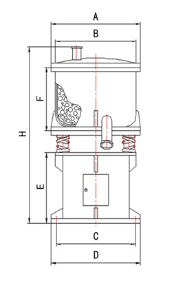
XZM系列旋振磨機基本結構:
本機主要由底架支筒、磨筒、襯板、研磨介質、激振器、支撐彈簧、驅動電機等部分組成。
1.底架支筒通過支撐彈簧把機體彈性托起,并保持驅動電機與振動主體撓性聯接距離不變。
2.磨筒是磨機振磨的工作體,用以盛裝磨破介質和研磨物。
3.激振器用以把電機的轉動力矩轉化為磨機的周期振動。
4.襯板緊貼于磨筒內壁,用以研磨過程中對主機磨筒的保護。
5.支撐彈簧用以使磨機機體處于彈性狀態,并基本隔絕機體旋轉工作時對底座的振動沖擊。
6.磨破介質是磨機的研磨主體,用以對物料的沖擊研磨。
7.驅動電機,給磨機振磨提供能量。
接通電源,驅動電機通過撓性聯軸節帶動激振器旋轉,產生足夠的激振力,使磨機機體進入環行周期振動狀態,振擺沖力被連續傳遞到裝入磨筒內的全部物料上(即介質和受磨物料上),通過磨破介質與受磨物料之間的互相沖擊,把受磨物料振碎研細。
XZM系列旋振磨機主要技術參數:


XZM系列旋振磨機外形尺寸:



全國銷售熱線
15893823777友情鏈接:
版權所有 新鄉市宏達振動設備有限責任公司 備案號:豫ICP備16039515號-2 豫公網安備 41071102000135號
微信掃一掃